Bundesgericht 
Tribunal fédéral 
Tribunale federale 
Tribunal federal 
 
 
 
 
{T 0/2} 
 
4A_131/2016  
   
   
 
 
 
Urteil vom 3. Oktober 2016  
 
I. zivilrechtliche Abteilung  
 
Besetzung 
Bundesrichterin Kiss, Präsidentin, 
Bundesrichterin Klett, 
Bundesrichter Kolly, 
Bundesrichterinnen Hohl, Niquille, 
Gerichtsschreiber Hurni. 
 
Verfahrensbeteiligte 
A.________ AG, 
vertreten durch Rechtsanwälte 
Peter Widmer und Dr. Cyrill Rieder, 
Beschwerdeführerin, 
 
gegen  
 
B.________, 
vertreten durch Rechtsanwälte 
Matthias Städeli und Dr. Demian Stauber, 
Beschwerdegegnerin. 
 
Gegenstand 
Patentverletzung, 
 
Beschwerde gegen das Teilurteil des 
Bundespatentgerichts vom 25. Januar 2016. 
 
 
Sachverhalt:  
 
A.  
 
A.a. Die A.________ AG mit Sitz in U.________ (Patentinhaberin, Klägerin, Beschwerdeführerin) bezweckt den Handel und Vertrieb von Dienstleistungen und Waren auf dem Gebiet der Umwelt-, Wasser- und Sanitärtechnologie im In- und Ausland.  
Die B.________ mit Sitz in V.________ (Ventil-Produzentin, Beklagte, Beschwerdegegnerin) hat die Herstellung von und den Handel mit CAD/CAM-Modellen und Formen aus Holz und Kunststoff aller Art zum Zweck. 
 
A.b. Die Patentinhaberin hält das EP xxx, das am 19. Dezember 2003 unter Beanspruchung der Priorität der südafrikanischen Patentanmeldung ZA xxx vom 23. Dezember 2002 und der PCT-Anmeldung xxx vom 19. Dezember 2003 angemeldet und am 30. März 2011 erteilt wurde. Als Erfinder ist C.________ genannt und die Schweiz gehört zu den bezeichneten Vertragsstaaten.  
 
A.c. Das Patent betrifft ein Fluidsteuerventil (Fluid control valve), das einen gravitationsbedingten Flüssigkeitsdurchfluss zulässt und einen Gasdurchfluss in der entgegengesetzten Richtung verhindert. Solche Ventile werden vorzugsweise bei Urinalen (Pissoirs) ohne Wasserspülung eingesetzt, um den Durchfluss von Urin zu erlauben und Uringeruch zu unterbinden.  
Nach der Beschreibung waren im Stand der Technik Kontrollventile für Urinale bekannt, bei denen sich jedoch an Krümmungen des Auslass-Abschnitts Ablagerungen (Rückstände aus Urin) gebildet hatten, die schwierig zu entfernen waren. Die Erfindung stellt sich die Aufgabe, den Nachteil der Bildung von Ablagerungen zu vermindern. 
 
A.d. Patentanspruch 1 lautet wie folgt:  
 
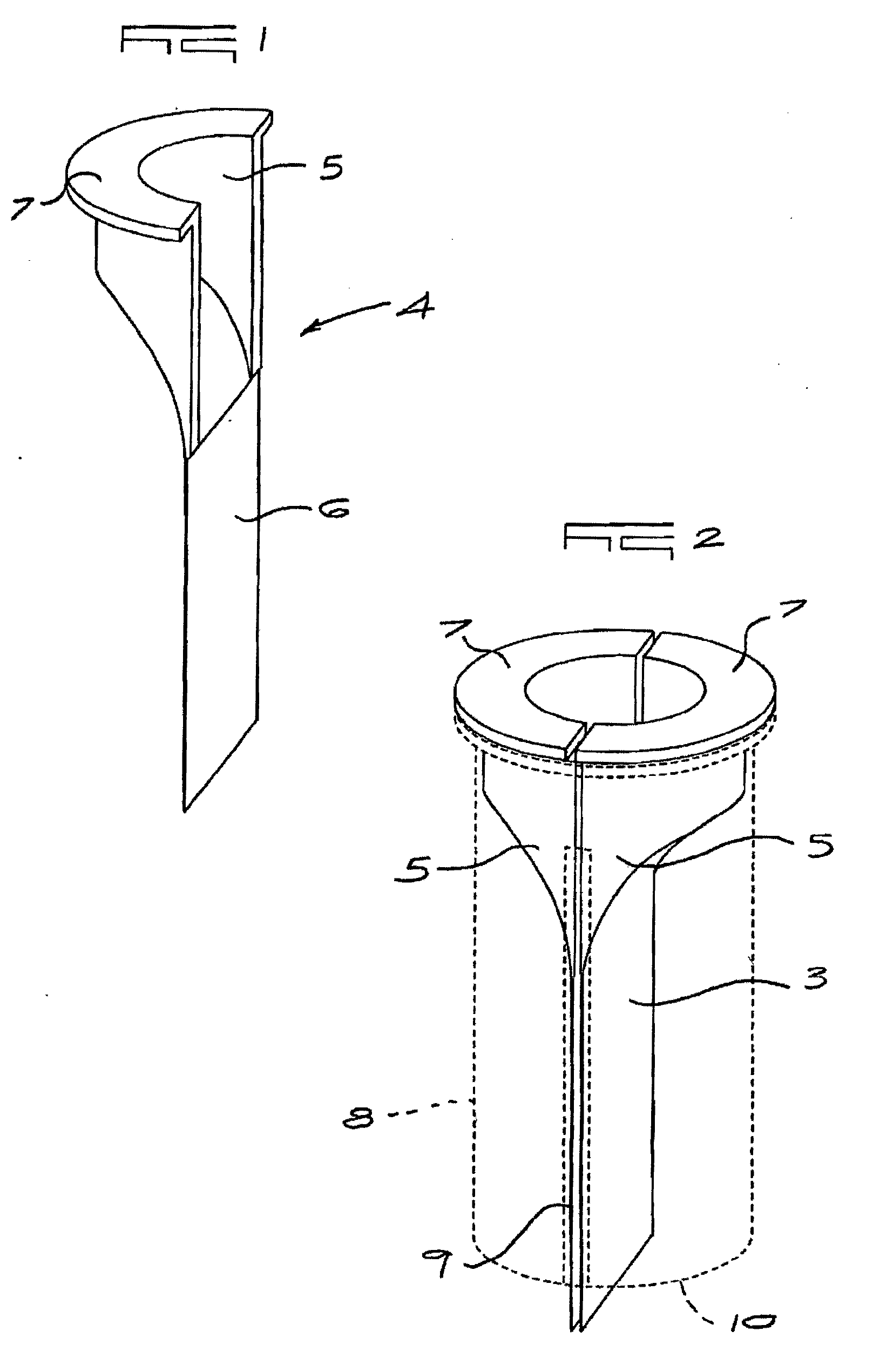
"A non-return valve (3), comprising an inlet section (5) in the form of a self-supporting trough-shaped section and an outlet section, the outlet section being made of a flexible resilient material connected to the inlet section (5), whereby the outlet section comprises a flat flexible resilient strip (6) with a high inherent degree of flexibility, the strip (6) being connected with the inlet section (5) at its upper edge; and further comprising a component that is separate from the strip (6) providing a complementary surface against which the lower end of the flexible strip (6) may seal." 
 
In der deutschen Übersetzung: 
 
"Rückschlagventil (3) mit einem Einlassabschnitt (5) in Form eines selbsttragenden trogförmigen Abschnittes, und einem Auslassabschnitt, welcher Auslassabschnitt aus einem flexiblen, nachgiebigen, mit dem Einlassabschnitt (5) verbundenen Material hergestellt ist, wobei der Auslassabschnitt einen flachen, flexiblen, nachgiebigen Streifen (6) mit einem hohen inhärenten Grad von Flexibilität aufweist und der Streifen (6) an seinem oberen Ende mit dem Einlassabschnitt (5) verbunden ist; und wobei er ferner eine vom Streifen (6) getrennte Komponente aufweist, welche eine komplementäre Fläche schafft, gegen welche das untere Ende des flexiblen Streifens (6) abzudichten vermag." 
 
                 
 
 
A.e. Der Erfinder C.________ schloss am 29. Juli 2006 einen Lizenzvertrag mit D.________ über die Verwertung der dem angemeldeten Patent zugrunde liegenden Erfindung. Der Lizenznehmer bzw. die E.________ liess die Ventile durch die Beklagte herstellen.  
Nachdem die E.________ in finanzielle Schwierigkeiten geraten war, schloss der Erfinder mit der F.________ AG in Gründung am 29. Oktober 2009 einen weiteren, zweiten Lizenzvertrag. Die F.________ liess Ventile durch die Beklagte herstellen. Am 8. März 2010 kündigte der Erfinder diesen Lizenzvertrag fristlos. Am 31. August 2015 wurde über die F.________ AG der Konkurs eröffnet. 
 
B.  
 
B.a. Am 21. Januar 2014 reichte die Patentinhaberin beim Bundespatentgericht Klage ein gegen die Ventil-Produzentin und die F.________ AG; das Verfahren gegen diese wird seit deren Konkurs getrennt geführt. Die Klägerin behauptete, die Beklagte stelle Ventile sog. erster Generation (vgl. unten Klagebegehren 1) und sog. zweiter Generation (vgl. unten Klagebegehren 2) her, welche die Erfindung ihres Patents EP xxx verwendeten.  
In ihrer Eingabe vom 10. September 2015 stellte sie folgende Begehren: 
 
"1. Der Beklagten sei bis zum Ablauf des Schweizer Teils des Patents EP xxx unter Androhung einer Ordnungsbusse von CHF 500.00 pro Tag nach Art. 343 Abs. 1 lit. c ZPO, mindestens aber CHF 5000.00 gemäss Art. 343 Abs. 1 lit. b ZPO, sowie der Bestrafung ihrer Organe nach Art. 292 StGB mit Busse im Widerhandlungsfall zu verbieten, Ventile für Urinale, welche Ventile den gravitationsbedingten Abfluss von Urin zulassen und in der Gegenrichtung das Ausströmen von Gerüchen einschränken, welche nach Art der untenstehenden Figur ausgebildet ist, also mit 
 
       a)       einem Einlassabschnitt, der 
 
              1.       selbsttragend ausgestaltet ist; 
 
              2.       sich trogförmig gegen sein unteres Ende verengt; 
 
       b)       und einem Auslassabschnitt mit 
 
              1.       einem flachen, flexiblen, nachgiebigen Streifen, der 
 
                     i. einen hohen inhärenten Grad von Flexibilität aufweist; 
 
                     ii. am oberen Ende mit dem Einlassabschnitt verbunden ist; 
 
              2.       und einer vom Streifen getrennten Komponente, so angeordnet, dass 
 
                     i. sie eine dem Streifen zugewandte komplementäre Fläche bildet, 
 
                     ii. der sich verengende Innenraum des Einlassabschnitts zwischen der komplementären Fläche und dem Streifen mündet; 
 
                     iii. Flüssigkeit zwischen der komplementären Fläche und dem Streifen durchfliessen kann; 
 
                     iv. das untere Ende des Streifens nach Durchfliessen der Flüssigkeit an der komplementären Fläche anliegt und dabei die Verbindung von unterhalb des Ventils zum Innenraum des Einlassabschnitts abdichtet; 
 
in der Schweiz und in Liechtenstein herzustellen, herstellen zu lassen, anzubieten, in den Verkehr zu bringen, zu verkaufen oder zu einem der genannten Zwecke einzuführen oder auszuführen. 
 
                 
 
2. Der Beklagten sei bis zum Ablauf des Schweizer Teils des Patents EP xxx unter Androhung einer Ordnungsbusse von CHF 500.00 pro Tag nach Art. 343 Abs. 1 lit. c ZPO, mindestens aber CHF 51000.00 [recte: CHF 5'000.00] gemäss Art. 343 Abs. 1 lit. b ZPO, sowie der Bestrafung ihrer Organe nach Art. 292 StGB mit Busse im Widerhandlungsfall zu verbieten, Ventile für Urinale, welche Ventile den gravitationsbedingten Abfluss von Urin zulassen und in der Gegenrichtung das Ausströmen von Gerüchen einschränken, welche nach Art der untenstehenden Figur ausgebildet sind, also mit 
 
       a)       einem Einlassabschnitt, der 
 
              1. selbsttragend ausgestaltet ist; 
 
              2. sich trogförmig gegen sein unteres Ende verengt; 
 
       b)       und einem Auslassabschnitt mit 
 
              1.       einem flachen, flexiblen, nachgiebigen Streifen, der 
 
                     i. einen hohen inhärenten Grad von Flexibilität aufweist; 
 
                     ii. am oberen Ende mit dem Einlassabschnitt verbunden ist; 
 
              2.       und einer vom Streifen, abgesehen von zwei flexiblen Stegverbindungen, getrennten Komponente, so angeordnet, dass 
 
                     i. sie eine dem Streifen zugewandte komplementäre Fläche bildet, 
 
                     ii. der sich verengende Innenraum des Einlassabschnitts zwischen der komplementären Fläche und dem Streifen mündet; 
 
                     iii. Flüssigkeit zwischen der komplementären Fläche und dem Streifen durchfliessen kann; 
 
                     iv. der Streifen bei seinem unteren Endbereich nach gravitationsbedingten Abfluss von Flüssigkeit an der komplementären Fläche soweit anliegt, dass die Verbindung von unterhalb des Ventils zum Innenraum des Einlassabschnitts abgedichtet ist; 
 
in der Schweiz und in Liechtenstein herzustellen, herstellen zu lassen, anzubieten, in den Verkehr zu bringen, zu verkaufen oder zu einem der genannten Zwecke einzuführen oder auszuführen. 
 
            
 
3. Die Beklagte sei unter Androhung einer Ordnungsbusse von CHF 500.00 pro Tag nach Art. 343 Abs. 1 lit. c ZPO, mindestens aber CHF 5000.00 gemäss Art. 343 Abs. 1 lit. b ZPO, sowie der Bestrafung ihrer Organe nach Art. 292 StGB mit Busse im Widerhandlungsfall zu verpflichten, nach anerkannten Grundsätzen der Rechnungslegung Auskunft zu erteilen über die Menge der von ihnen oder in ihrem Auftrag in der Schweiz und in Liechtenstein hergestellten, in den Verkehr gebrachten, verkauften und zu den genannten Zwecken eingeführten oder ausgeführten Erzeugnisse gemäss Ziffer 1 und 2 sowie damit direkt zusammenhängende Produkte (inklusive jeweils identische Produkte, welche allenfalls unter anderen Namen verkauft werden) wie: 
 
•       das "Key-Ventil" (Artikel-Nr. xxx); 
 
•       der "Key Ring" (Artikel-Nr. unbekannt) 
 
•       der "Service-Schlüssel" (Artikel-Nr. xxx); 
 
•       der "Grundadapter" (Artikel-Nr. xxx); 
 
•       die "Adapter" für diverse Urinalsysteme (Artikel-Nr. xxx bis xxx) 
 
•       Produkte betreffend Reinigungsmittel "G.________" (Artikel-Nr. xxx bis xxx) 
 
sowie die dadurch erzielten Umsätze und Gewinne, unter Angabe: 
 
a)       der Menge der hergestellten, erhaltenen oder bestellten Erzeugnisse sowie die Namen und Anschriften der Hersteller und/oder Lieferanten; 
 
b)       der Menge und der Preise der verkauften und ausgelieferten Erzeugnisse und des erzielten Gewinns; 
 
c)       des Verbreitungszeitraums; 
 
d)       der Kosten für den Erwerb der erhaltenen oder bestellten Erzeugnisse und allfälliger weiterer Gestehungskosten im Zusammenhang mit dem Vertrieb und Verkauf der Erzeugnisse. 
 
4. Die Beklagte sei unter solidarischer Haftung mit F.________ AG, Strasse U.________, W.________ zu verpflichten, der Klägerin einen nach erfolgter Rechnungslegung gemäss Ziffer 3 zu beziffernden Betrag zuzüglich Zinsen von 5% p.a. seit dem 23. Dezember 2009 zu bezahlen (geschätzter Mindestwert im Sinne von Art. 85 Abs. 1 ZPO: CHF 5'000.00). 
 
5. Es sei die Zerstörung der widerrechtlich hergestellten Erzeugnisse gemäss Ziffer 1 und 2 sowie die hierfür benötigten Werkzeugformen und anderen überwiegend zur Herstellung dienenden Einrichtungen, Geräte und sonstigen Mittel anzuordnen, soweit sich diese im Eigentum oder Besitz der Beklagten befinden. Dies betrifft insbesondere die folgenden beiden Werkzeuge: 
 
•       "H.________" Anpassung (1) xxx, Anschaffung am 1.5.2010, Werkzeugnummer xxx" und 
 
•       "H.________" Anpassung (3) xxx, Anschaffung am 7.9.2010, Werkzeugnummer xxx" 
 
6. Die Beklagte sei unter Androhung einer Ordnungsbusse von CHF 500.00 pro Tag nach Art. 343 Abs. 1 lit. c ZPO, mindestens aber CHF 5000.00 gemäss Art. 343 Abs. 1 lit. b ZPO, sowie der Bestrafung ihrer Organe nach Art. 292 StGB mit Busse im Widerhandlungsfall zu verpflichten, Auskunft zu erteilen über: 
 
•       Menge und Lagerungsort aller sich in ihrem Besitz oder Eigentum befindlichen Erzeugnisse gemäss Ziffer 1 und 2; 
 
•       Sämtliche sich in ihrem Besitz oder Eigentum befindlichen Werkzeugformen, welche für die Herstellung der Erzeugnisse gemäss Ziffer 1 und 2 verwendet werden können. 
 
7. Alles unter Kosten- und Entschädigungsfolgen einschliesslich Kosten des Patentanwaltes, zuzüglich Mehrwertsteuerzuschlag gemäss geltenden Mehrwertsteuersatzes, zu Lasten der Beklagten." 
 
Mit Teilurteil vom 25. Januar 2016 erkannte das Bundespatentgericht wie folgt: 
 
"1. In Gutheissung von Rechtsbegehren Ziff. 1 wird es der Beklagten bis zum Ablauf des Schweizer Teils des europäischen Patents EP xxx unter Androhung einer Ordnungsbusse von CHF 500.- für jeden Tag der Nichterfüllung, mindestens aber CHF 5'000.-, sowie der Bestrafung ihrer Organe nach Art. 292 StGB mit Busse im Widerhandlungsfall verboten, Ventile für Urinale, welche Ventile den gravitationsbedingten Abfluss von Urin zulassen und in der Gegenrichtung das Ausströmen von Gerüchen einschränken, welche nach Art der untenstehenden Figur ausgebildet ist, also mit 
a)       einem Einlassabschnitt, der 
 
       1.       selbsttragend ausgestaltet ist; 
 
       2.       sich trogförmig gegen sein unteres Ende verengt; 
 
b)       und einem Auslassabschnitt mit 
 
       1.       einem flachen, flexiblen, nachgiebigen Streifen, der 
 
              i. einen hohen inhärenten Grad von Flexibilität aufweist; 
 
              ii. am oberen Ende mit dem Einlassabschnitt verbunden ist; 
 
       2.       und einer vom Streifen getrennten Komponente, so angeordnet, dass 
 
              i. sie eine dem Streifen zugewandte komplementäre Fläche bildet, 
 
              ii. der sich verengende Innenraum des Einlassabschnitts zwischen der komplementären Fläche und dem Streifen mündet; 
 
              iii. Flüssigkeit zwischen der komplementären Fläche und dem Streifen durchfliessen kann; 
 
              iv. das untere Ende des Streifens nach Durchfliessen der Flüssigkeit an der komplementären Fläche anliegt und dabei die Verbindung von unterhalb des Ventils zum Innenraum des Einlassabschnitts abdichtet; 
 
in der Schweiz und in Liechtenstein herzustellen, herstellen zu lassen, anzubieten, in den Verkehr zu bringen, zu verkaufen oder zu einem der genannten Zwecke einzuführen oder auszuführen. 
 
                 
 
2. Rechtsbegehren Ziff. 2 wird abgewiesen. 
 
3. Die Beklagte wird unter Androhung einer Ordnungsbusse von CHF 500.- für jeden Tag der Nichterfüllung, mindestens aber CHF 5'000.-, sowie der Bestrafung ihrer Organe nach Art. 292 StGB mit Busse im Widerhandlungsfall verpflichtet, innert 60 Tagen nach Eintritt der Rechtskraft dieses Teilurteils nach anerkannten Grundsätzen der Rechnungslegung Auskunft zu erteilen über die Menge der seit 9. März 2010 von ihr oder in ihrem Auftrag in der Schweiz und in Liechtenstein hergestellten, in den Verkehr gebrachten, verkauften und zu den genannten Zwecken eingeführten oder ausgeführten Erzeugnisse gemäss Dispositiv-Ziffer 1 sowie die dadurch erzielten Umsätze und Gewinne, unter Angabe:  
 
a)       der Menge der hergestellten, erhaltenen oder bestellten Erzeugnisse sowie die Namen und Anschriften der Hersteller und/oder Lieferanten; 
 
b)       der Menge und der Preise der verkauften und ausgelieferten Erzeugnisse und des erzielten Gewinns; 
 
c)       des Verbreitungszeitraums; 
 
d)       der Kosten für den Erwerb der erhaltenen oder bestellten Erzeugnisse und allfälliger weiterer Gestehungskosten im Zusammenhang mit dem Vertrieb und Verkauf der Erzeugnisse. 
 
Im Mehrumfang wird das Rechtsbegehren Ziff. 3 abgewiesen. 
 
4. In Gutheissung von Rechtsbegehren Ziff. 6 wird die Beklagte unter Androhung einer Ordnungsbusse von CHF 500.- für jeden Tag der Nichterfüllung, mindestens aber CHF 5'000.-, sowie der Bestrafung ihrer Organe nach Art. 292 StGB mit Busse im Widerhandlungsfall verpflichtet, innert 30 Tagen nach Eintritt der Rechtskraft dieses Teilurteils Auskunft zu erteilen über 
 
-       Menge und Lagerungsort aller sich in ihrem Besitz oder Eigentum befindlichen Erzeugnisse gemäss Dispositiv-Ziffer 1 
 
-       sämtliche sich in ihrem Besitz oder Eigentum befindlichen Werkzeugformen, welche ausschliesslich für die Herstellung der Erzeugnisse gemäss Dispositiv-Ziffer 1 verwendet werden können. 
 
5. In Gutheissung von Rechtsbegehren Ziff. 6 wird die Beklagte unter Androhung einer Ordnungsbusse von CHF 500.- für jeden Tag der Nichterfüllung, mindestens aber CHF 5'000.-, sowie der Bestrafung ihrer Organe nach Art. 292 StGB mit Busse im Widerhandlungsfall verpflichtet, innert 60 Tagen nach Eintritt der Rechtskraft dieses Teilurteils hergestellte Erzeugnisse gemäss Dispositiv-Ziffer 1 sowie die dafür spezifisch benötigten Werkzeugformen und zur Herstellung dienenden Einrichtungen, Geräte und sonstigen Mittel, soweit diese ausschliesslich für die Herstellung der Erzeugnisse gemäss Dispositiv-Ziffer 1 geeignet sind, zu vernichten, soweit sich diese im Eigentum oder Besitz der Beklagten befinden. 
 
(Kosten) " 
 
Das Gericht beurteilte zunächst den Einwand der Beklagten, dass die auf Unterlassung gerichteten Rechtsbegehren nicht hinreichend bestimmt seien und bejahte sodann gestützt auf ein Fachrichtervotum von Dr.sc.nat. Tobias Bremi die Rechtsbeständigkeit des EP xxx und dessen Verletzung durch die Ventile der ersten Generation. Entgegen dem Fachrichtervotum gelangte das Gericht indes zum Schluss, dass die Ventile der zweiten Generation das Patent nicht verletzten. 
 
C.  
 
C.a. Mit Beschwerde in Zivilsachen vom 29. Februar 2016 stellt die Patentinhaberin folgende Rechtsbegehren:  
 
"1. Das Teilurteil des Bundespatentgerichts vom 25. Januar 2016 in Sachen O2014_002 sei teilweise aufzuheben soweit die nachfolgenden Rechtsbegehren abgewiesen wurden. 
 
2. Der Beschwerdegegnerin sei bis zum Ablauf des Schweizer Teils des Patents EP xxx unter Androhung einer Ordnungsbusse von CHF 500.00 pro Tag nach Art. 343 Abs. 1 lit. c ZPO, mindestens aber CHF 5'000.00 gemäss Art. 343 Abs. 1 lit. b ZPO, sowie der Bestrafung ihrer Organe nach Art. 292 StGB mit Busse im Widerhandlungsfall zu verbieten, Ventile für Urinale, welche Ventile den gravitationsbedingten Abfluss von Urin zulassen und in der Gegenrichtung das Ausströmen von Gerüchen einschränken, welche nach Art der untenstehenden Figur ausgebildet sind, also mit 
 
a) einem Einlassabschnitt, der 
 
       1. selbsttragend ausgestaltet ist; 
 
       2. sich trogförmig gegen sein unteres Ende verengt; 
 
b) und einem Auslassabschnitt mit 
 
       1. einem flachen, flexiblen, nachgiebigen Streifen, der 
 
              i. einen hohen inhärenten Grad von Flexibilität aufweist; 
 
              ii. am oberen Ende mit dem Einlassabschnitt verbunden ist; 
 
       2. und einer vom Streifen, abgesehen von zwei flexiblen Stegverbindungen, getrennten Komponente, so angeordnet, dass 
 
              i. sie eine dem Streifen zugewandte komplementäre Fläche bildet, 
 
              ii. der sich verengende Innenraum des Einlassabschnitts zwischen der komplementären Fläche und dem Streifen mündet; 
 
              iii. Flüssigkeit zwischen der komplementären Fläche und dem Streifen durchfliessen kann; 
 
              iv. der Streifen bei seinem unteren Endbereich nach gravitationsbedingten Abfluss von Flüssigkeit an der komplementären Fläche soweit anliegt, dass die Verbindung von unterhalb des Ventils zum Innenraum des Einlassabschnitts abgedichtet ist; 
 
in der Schweiz und in Liechtenstein herzustellen, herstellen zu lassen, anzubieten, in den Verkehr zu bringen, zu verkaufen oder zu einem der genannten Zwecke einzuführen oder auszuführen. 
 
                 
 
3. Der Beschwerdegegnerin sei unter Androhung einer Ordnungsbusse von CHF 500.00 pro Tag nach Art. 343 Abs. 1 lit. e ZPO, mindestens aber CHF 5'000.00 gemäss Art. 343 Abs.1 lit. b ZPO, sowie der Bestrafung ihrer Organe nach Art. 292 StGB mit Busse im Widerhandlungsfall zu verpflichten, nach anerkannten Grundsätzen der Rechnungslegung Auskunft zu erteilen über die Menge der seit 9. März 2010 von ihr oder in ihrem Auftrag in der Schweiz und in Liechtenstein hergestellten, in den Verkehr gebrachten, verkauften und zu den genannten Zwecken eingeführten oder ausgeführten Erzeugnisse gemäss Ziff. 2 sowie: 
 
- das "Key-Ventil" (F.________ Artikel-Nr. xxx) : 
 
                 
 
- der "Key Ring" (F.________ Artikel-Nr. unbekannt) : 
 
                 
 
 
- der "Service-Schlüssel" (F.________ Artikel-Nr. xxx) : 
 
                 
 
 
- der "Grundadapter" (F.________ Artikel-Nr. xxx) und die "Adapter" für diverse Urinalsysteme (F.________ Artikel-Nr. xxx bis xxx) : 
 
                 
 
 
sowie die dadurch erzielten Umsätze und Gewinne, unter Angabe: 
 
       a) der Menge der hergestellten, erhaltenen oder bestellten Erzeugnisse sowie die Namen und Anschriften der Hersteller und/oder Lieferanten; 
 
       b) der Menge und der Preise der verkauften und ausgelieferten Erzeugnisse und des erzielten Gewinns; 
 
       c) des Verbreitungszeitraums; 
 
       d) der Kosten für den Erwerb der erhaltenen oder bestellten Erzeugnisse und allfälliger weiterer Gestehungskosten im Zusammenhang mit dem Vertrieb und Verkauf der Erzeugnisse. 
 
4. Die Beschwerdegegnerin sei unter Androhung einer Ordnungsbusse von CHF 500.00 pro Tag nach Art. 343 Abs. 1 lit. c ZPO, mindestens aber CHF 5'000.00 gemäss Art. 343 Abs. 1 lit. b ZPO, sowie der Bestrafung ihrer Organe nach Art. 292 StGB mit Busse im Widerhandlungsfall zu verpflichten, Auskunft zu erteilen über: 
 
       a) Menge und Lagerungsort aller sich in ihrem Besitz oder Eigentum befindlichen Erzeugnisse gemäss obenstehender Ziff. 2; 
 
       b) Sämtliche sich in ihrem Besitz oder Eigentum befindlichen Werkzeugformen, welche für die Herstellung der Erzeugnisse gemäss obenstehender Ziff. 2 verwendet werden können. 
 
Alles unter Kosten- und Entschädigungsfolgen inkl. Patentanwaltskosten, zuzüglich Mehrwertsteuerzuschlag gemäss geltenden Steuersatzes, zu Lasten der Beschwerdegegnerin. 
 
Eventualiter zu obenstehender Ziff. 2 bis 5: Das Teilurteil des Bundespatentgerichts vom 25. Januar 2016 in Sachen O2014_002 sei in Bezug auf Dispositivziff. 2, 3, 7 und 8 aufzuheben und die Sache diesbezüglich zur Neubeurteilung zurückzuweisen." 
 
Die Beschwerdeführerin rügt, die Vorinstanz habe in einem entscheidenden Punkt auf einen unzutreffenden Sachverhalt abgestellt, das entscheidende Merkmal "separat" unzutreffend bzw. widersprüchlich ausgelegt und deshalb eine wortsinngemässe Umsetzung von Merkmal 1.3 der patentierten Lehre bzw. eine adäquate Ausführung zu Unrecht verneint. Im Einzelnen führt sie zu ihren Anträgen aus, auch das Urinalventil der zweiten Generation verletze ihr Patent, was zur Gutheissung des Unterlassungsbegehrens und des Begehrens auf Rechnungslegung im Sinne ihres Klagebegehrens 2 führe; in Bezug auf die weiteren Erzeugnisse habe die Vorinstanz ihr Begehren auf Rechnungslegung in Bezug auf "direkt damit zusammenhängende Produkte" als zu unbestimmt erachtet, weshalb sie dieses Begehren nunmehr einschränke auf konkret spezifizierte Produkte. 
Die Beschwerdegegnerin beantragt in ihrer Beschwerdeantwort, die Beschwerde sei abzuweisen, eventualiter sei die Sache zu neuer Entscheidung an die Vorinstanz zurückzuweisen. 
Das Bundespatentgericht wendet sich in der Vernehmlassung gegen die Rüge, der Sachverhalt in Bezug auf die Urinalventile der zweiten Generation sei aktenwidrig, widersprüchlich und unter Verletzung von Verfahrensvorschriften erhoben worden. 
Die Parteien haben repliziert und dupliziert. 
 
 
Erwägungen:  
 
1.  
Die Beschwerde betrifft eine Zivilsache (Art. 72 BGG); sie richtet sich gegen den Entscheid des Bundespatentgerichts (Art 75 Abs. 1 BGG), mit dem ein Teil der Begehren endgültig beurteilt wird (Art. 91 lit. a BGG). Die Beschwerdeführerin ist mit ihren Begehren nicht vollständig durchgedrungen (Art. 76 BGG) und sie hat die Beschwerde fristgerecht eingereicht. Insoweit sind die Zulässigkeitsvoraussetzungen der Beschwerde in Zivilsachen erfüllt. 
 
2.  
Neue Begehren sind, von hier nicht gegebener Ausnahme abgesehen, unzulässig (Art. 99 BGG). 
 
2.1. Die Beschwerdeführerin beantragt in Ziffer 3 ihrer Begehren vor Bundesgericht, die Beschwerdegegnerin habe Rechnung zu legen nicht nur in Bezug auf die vorliegend streitigen Urinalventile der zweiten Generation, sondern auch in Bezug auf damit zusammenhängende Produkte; diese hat sie vor der Vorinstanz nach ihrer Art beschrieben ("Key-Ventil", "Key-Ring", "Service-Schlüssel", "Grundadapter" sowie "Adapter" für diverse Urinalsysteme und Produkte betreffend Reinigungsmittel "G.________") und soweit vorhanden mit "Artikel-Nr." versehen. In der vorliegenden Beschwerde fügt sie ihren Produkteangaben eine graphische Darstellung bei mit der Begründung, sie schränke damit ihre Begehren so ein, dass sie dem Bestimmtheitsgebot genügen würden.  
 
2.1.1. Die Vorinstanz hat das ihr gestellte Auskunftsbegehren als nicht vollstreckbar erklärt, weil namentlich unklar sei, was mit "damit zusammenhängende Produkte" genau gemeint sei. Die Beschwerdeführerin stellt nicht in Abrede, dass ihr vor der Vorinstanz gestelltes Begehren den Bestimmtheitsanforderungen nicht entsprach, und beanstandet nicht, dass die Vorinstanz darauf nicht eintrat.  
 
2.1.2. Die Beschwerdeführerin hat ihre Begehren ergänzt. Inwiefern darin eine blosse Einschränkung liegen sollte, wie sie in der Beschwerde behauptet, ist nicht nachvollziehbar. Sie will offensichtlich über genau dieselben "damit zusammenhängenden Produkte" Auskunft, welche sie schon vor Vorinstanz bezeichnete. Eine Einschränkung ist weder ersichtlich noch dargetan. Mit der Ergänzung der Begehren durch die graphischen Darstellungen - welche nach Ansicht der Beschwerdeführerin die Produkte so spezifizieren, dass dem Bestimmtheitsgebot Rechnung getragen werde - werden vor Bundesgericht neue Begehren gestellt, was nicht zulässig ist.  
 
2.1.3. Auf das Rechtsbegehren Ziffer 3 ist insoweit nicht einzutreten, als es sich auf damit zusammenhängende Produkte bezieht.  
 
3.  
Die Beschwerdeführerin rügt als offensichtlich unrichtige Feststellung des Sachverhalts, die Vorinstanz habe in Bezug auf die umstrittene Ausgestaltung des von der Beklagten ausgeführten Urinalventils (2. Generation) widersprüchliche Feststellungen getroffen und Verfahrensrechte verletzt. 
 
3.1. Die Beschwerdeführerin beanstandet folgende Feststellung der Vorinstanz:  
 
"In der angegriffenen Verletzungsform sind an der unteren Kante der Streifen beidseits Verbindungsstege beträchtlicher Länge vorgesehen, die erheblichen Abstand zwischen den Streifen halten." 
 
Damit wird nach Ansicht der Beschwerdeführerin ausgeführt, dass die Streifen (  recte wohl Verbindungsstege) einen beträchtlichen Abstand zwischen den beiden Streifen herstellen würden und diese angeblich an keiner Stelle aneinanderzuliegen kämen. Die Beschwerdeführerin stört sich daran, dass damit nicht die Funktionsweise des Verletzungsgegenstandes beschrieben werde, sondern auf eine Fotographie abgestellt werde, welche das Ventil der Beklagten im Ruhezustand und ausserdem auf den Kopf gestellt darstelle, wobei zudem übergangen werde, dass die Stegverbindungen in der Mitte einen Falz im Sinne einer Biegung oder Schwachstelle aufwiesen, so dass der durch die Stege geschaffene, angeblich "beträchtliche" Abstand grösser erscheine als in Wirklichkeit und unberücksichtigt bleibe, dass die einmal durchgelaufene Flüssigkeit aufgrund von Adhäsionskräften die Streifen im Gebrauchszustand zusammenziehe. Die Beschwerdeführerin stellt diese Beschreibung des Verletzungsgegenstandes den von ihr akzeptierten Feststellungen in E. 6.5.2.1 gegenüber, wo ausgeführt wird:  
 
"Zweifelsfrei, andernfalls würde das Ventil bei der 2. Generation überhaupt nicht funktionieren hinsichtlich Dichtungswirkung für Gase, liegen aber die beiden Streifen im Gebrauchszustand oberhalb dieser Stege sowohl entlang ihrer beiden lateralen Kanten aneinander, als auch über eine wesentliche axiale Länge in Querrichtung." 
 
"In der angegriffenen Ausführungsform ist zwar an der Unterkante durch die Stege im Gebrauchszustand (zumindest am Anfang) die direkte Anlage des Streifens an die komplementäre Komponente verhindert, unmittelbar oberhalb davon, und damit immer noch im Bereich des unteren Endes des Streifens, kommt dieser aber an Anlage mit der komplementären Komponente und dichtet genau deswegen ab." 
 
 
3.2. Die Vorinstanz widerspricht in ihrer Vernehmlassung der Ansicht der Beschwerdeführerin, wonach eine Diskrepanz zwischen den zitierten Aussagen bestehe. Sie verweist darauf, dass im angefochtenen Urteil wiederholt festgestellt werde:  
 
"Die bei der 2. Generation vorhandenen Stege zwischen den Streifen an deren unterem Ende führen offensichtlich dazu, dass der eine Streifen nicht über die gesamte Länge der vertikal verlaufenden Kanten getrennt ist von der Komponente (hier dem anderen Streifen). " 
 
Sie weist darauf hin, dass im angefochtenen Urteil (im Rahmen der Äquivalenzbeurteilung) denn auch die Gleichwirkung der 2. Generation mit der patentierten Erfindung bejaht werde, und sie bestätigt, dass die Dichtungswirkung ersichtlich nur eintreten kann, wenn die Streifen in genügender Länge aneinander liegen, weshalb davon keine Rede sein könne, dass die Streifen des Verletzungsgegenstandes "an keiner Stelle aneinander liegen" würden. Sie wendet sich im Ü brigen dagegen, dass die im Urteil wiedergegebene Fotographie des Verletzungsgegenstandes (im Ruhezustand und "auf dem Kopf") irgendwelchen Beweiszwecken dienen würde. 
Die Beschwerdegegnerin wendet sich ebenfalls gegen die Rüge unrichtiger Sachverhaltsfeststellung mit der Begründung, es sei im vorinstanzlichen Verfahren unbestritten geblieben, dass die beiden Streifen "im trockenen Zustand" nicht dichtend aneinander liegen. Sie hält dafür, dieser Zustand sei für die Frage der Auffindbarkeit (im Rahmen der Äquivalenzbeurteilung) massgebend. Sie fügt an, dass die Sachverhaltsfeststellung der Vorinstanz selbst dann zutreffen würde, wenn der nasse "Gebrauchszustand" rechtserheblich wäre. Da sich die Feststellung auf das untere Ende der Streifen beziehe und ihr nicht mehr zu entnehmen sei, als dass dort die Stegverbindungen Abstand hielten, sei sie unbestritten zutreffend. 
 
3.3. Die angegriffene Verletzungsform wird im angefochtenen Entscheid nicht unzutreffend oder widersprüchlich beschrieben. Zwar ist die von der Beschwerdeführerin beanstandete Feststellung wohl etwas verkürzt ausgefallen, wenn nur das untere Ende der Streifen mit den Verbindungsstegen beschrieben wird, welche (vor Gebrauch) einen beträchtlichen Abstand halten. Dass jedoch das Ventil 2. Generation zweckentsprechend nur funktioniert, wenn die Streifen oberhalb dieser Verbindungsstege (im Zustand vor Gebrauch) auf einer hinreichenden Länge getrennt sind, wird im angefochtenen Urteil wiederholt festgestellt. Der isolierten Beschreibung kann daher entgegen der Ansicht der Beschwerdeführerin nicht der Sinn beigelegt werden, dass damit implizit festgestellt werde, die beiden Streifen kämen beim Verletzungsgegenstand (im Gebrauchszustand) an keiner Stelle aneinander zu liegen. Die Rüge widersprüchlicher Sachverhaltsfeststellung ist unbegründet. Da die Feststellung im Ergebnis nicht so zu verstehen ist, wie die Beschwerdeführerin behauptet, sind auch die behaupteten Verletzungen von Verfahrensrechten gegenstandslos.  
 
4.  
Die Beschwerdeführerin rügt, die Vorinstanz habe das Merkmal 1.3 "separate" rechtsfehlerhaft ausgelegt. 
 
4.1. Die Vorinstanz hat die Merkmale von Anspruch 1 der patentierten Erfindung wie folgt dargestellt:  
 
"1.       A non-return valve (3), 
 
       1.1 comprising an inlet section (5) 
 
       1.1. in the form of a self-supporting trough-shaped section 
 
       1.2 and an outlet section, 
 
              1.2.1 the outlet section being made of a flexible resilient material connected to the inlet section (5), 
 
              1.2.2 whereby the outlet section comprises a flat flexible resilient strip (6) with a high inherent degree of flexibility. 
 
              1.2.3 the strip (6) being connected with the inlet section (5) at its upper edge; 
 
       1.3 and further comprising a component that is separate from the strip (6) 
 
              1.3.1 providing a complementary surface against which the lower end of the flexible strip (6) may seal." 
 
 
4.1.1. Das Merkmal 1 ("a non return valve") hat die Vorinstanz im Gesamtkontext aller Merkmale ausgelegt als ein Ventil, welches bei entsprechender Orientierung im Raum im Gebrauchszustand und ohne spezielle äussere Einwirkung Flüssigkeit von oben nach unten ohne weiteres hindurch treten lässt und in der Gegenrichtung das Austreten von Gas verhindert.  
Die Kombination der Merkmale 1.2.1 und 1.2.2 ("the outlet section being made of a flexible resilient material connected to the inlet section (5), whereby the outlet section comprises a flat flexible resilient strip (6) with a high inherent degree of flexibility ") hat sie in der Weise ausgelegt, dass die Streifen im Auslassabschnitt so flexibel und nachgiebig sein müssen, dass sie durch den nur ganz geringen gravitationsbedingten Druck von wenig hindurchtretendem Urin bereits genügend beiseite geschoben werden können, so dass der Urin hindurch treten kann. Und sie müssen auch so flexibel und leicht sein, dass sie durch Adhäsionskräfte und gegebenenfalls den sehr geringen Druckunterschied dichtend an die komplementäre Fläche anliegen; denn nur so können sie die beanspruchte Funktion gemäss Merkmal 1 überhaupt wahrnehmen. Ausserdem kann dieses Merkmal des Auslassabschnitts (" outlet section") seine Funktion gemäss Merkmal 1 nur wahrnehmen, wenn es einen Einlassabschnitt ("inlet section") oder Trog-Abschnitt ("trough section") nach Merkmal 1.1.1 gibt, der selbsttragend ist, und einen im Gegensatz dazu nicht selbsttragenden Streifen des Auslassabschnitts ("outlet section"), der in Biegerichtung hoch flexibel ist. 
Diese Interpretation der Vorinstanz wird von der Beschwerdeführerin nicht beanstandet. 
 
4.1.2. Die Merkmale 1.3 inklusive 1.3.1 ("and further comprising a component that is separate from the strip (6) providing a complementary surface against which the lower end of the flexible strip (6) may seal") hat die Vorinstanz in zwei Aspekte unterteilt: Einerseits eine vom Streifen "separate" Komponente, anderseits "das untere Ende" des flexiblen Streifens.  
 
4.1.3. Zur vom Streifen "separaten" Komponente, welche die komplementäre Fläche darstellt, hat die Vorinstanz unter Beizug der Beschreibung geschlossen, dass die beiden Streifen über die gesamte Länge an den vertikal verlaufenden Kanten voneinander getrennt sind, in Abgrenzung zum in der Einleitung erwähnten Stand der Technik, wo flach gedrückte Schläuche aus einem flexiblen Material bereits bekannt waren, die gewissermassen als Streifen über die gesamte Länge an den Kanten miteinander verbunden waren. Im Lichte dessen ist das Merkmal der zum Streifen separaten Komponente nach den Erwägungen im angefochtenen Entscheid so auszulegen, dass der Streifen über die gesamte Länge der vertikal verlaufenden Kanten getrennt ist von der Komponente.  
 
4.1.4. Zum "unteren Ende" des flexiblen Streifens, das gegen die komplementäre Fläche abdichtet, führt die Vorinstanz aus, dass bei allen Ausführungsbeispielen die unteren Enden der Streifen aufgrund der separaten Ausbildung als freie Enden mit einer unteren Kante ausgebildet seien; dabei lägen die Streifen, wenn abgedichtet ist, stets über die ganze Länge aneinander, also nicht nur am untersten Ende an der Kante, sondern auch oberhalb davon, generell unterhalb des trogförmigen Bereiches. Der Fachmann erkenne, dass das Ventil nicht dichten könnte, wenn der Streifen nicht zumindest in der an den trogförmigen Bereich angrenzenden Sektion an die Komponente anliegen würde, d.h. wo der Streifen (in Fliessrichtung betrachtet) erstmals "separat" (d.h. seitlich getrennt) ist.  
 
4.1.5. Für die Auslegung ist nach den Erwägungen im angefochtenen Entscheid zudem wichtig, dass im Anspruch hinsichtlich des Streifens einerseits davon gesprochen werde, dass dieser an der oberen "Kante" mit dem trogförmigen Bereich verbunden ist, und andererseits definiert werde, dass der Streifen am unteren Ende abdichtet. Mit der Kante wird danach die Oberkante des Streifens bezeichnet und "das untere Ende" bezeichne nicht die Unterkante, sondern einen Bereich am unteren Ende der Kante. Das Merkmal der Abdichtung am "unteren Ende" wird von der Vorinstanz so ausgelegt, dass im nicht verbundenen Bereich der Streifen im Bereich des unteren Endes (nicht notwendigerweise an deren Unterkante) eine Abdichtung durch Anlage des Streifens an die komplementäre Fläche erfolgt.  
 
4.2. Soweit die Beschwerdeführerin unter Berufung auf Erwägungen der Vorinstanz im Zusammenhang mit dem Einwand unzulässiger Erweiterung des Klagepatents oder mit der Verletzung rügt, die Auslegung des Merkmals "separate" sei widersprüchlich, kann ihr nicht gefolgt werden. Die Vorinstanz hat im Rahmen der Auslegung von Anspruch 1 (E. 6.3 S. 36 ff.) das Merkmal "separate" ausdrücklich so ausgelegt, dass  der Streifen über die gesamte Länge der vertikal verlaufenden Kanten getrennt ist von der Komponente. Dass sie in anderem Zusammenhang erwähnt, der Fachmann erkenne (auch oder ohne weiteres), dass die Streifen im Auslassabschnitt unterhalb der Trogbefestigung nicht bis zu ihren Enden frei und getrennt sein müssten, sondern dass ein hinreichend langer Abschnitt der Trennung zur Erzielung des erwünschten Effektes genüge, ändert nichts daran. Es ist vielmehr zu prüfen, ob die Vorinstanz die massgebenden Auslegungsgrundsätze missachtet hat, wie die Beschwerdeführerin ebenfalls rügt.  
 
4.2.1. Nach Art. 51 Abs. 2 PatG bzw. Art. 69 Abs. 1 Satz 1 EPÜ 2000 bestimmen die Patentansprüche den sachlichen Geltungsbereich des Patents. Demnach ist der Anspruchswortlaut Ausgangspunkt jeder Auslegung. Die Beschreibung und die Zeichnungen sind jedoch zur Auslegung der Patentansprüche heranzuziehen (Art. 51 Abs. 3 PatG bzw. Art. 69 Abs. 1 Satz 2 EPÜ 2000). Das allgemeine Fachwissen ist als sog. liquider Stand der Technik ebenfalls Auslegungsmittel (PETER HEINRICH, Kommentar zu PatG/EPÜ, 2. Aufl. 2010, N. 54 zu Art. 51 PatG; FRITZ BLUMER, in: Bertschinger et al. [Hrsg.], Schweizerisches und europäisches Patentrecht, 2002, Rz. 14.41; THIERRY CALAME, in: von Büren/David [Hrsg.], Patentrecht und Know-how, SIWR Bd. IV, 2006, S. 413). Die in den Patentansprüchen umschriebenen technischen Anleitungen sind dabei so auszulegen, wie der Fachmann sie versteht (BGE 132 III 83 E. 3.4 S. 87 mit Hinweisen; Urteil 4A_541/2013 vom 2. Juni 2014 E. 4.2.1).  
 
4.2.2. Das Merkmal "component that is separate from the strip (6) providing a complementary surface" ("eine vom Streifen (6) getrennte Komponente, welche eine komplementäre Fläche schafft") ist in Abgrenzung zum Stand der Technik so zu verstehen, dass statt eines flach gepressten Schlauches oder ähnlichen Konstruktionen individuelle Streifen vorhanden sind, welche gerade nicht an den Kanten verbunden sind, so dass sie nach Anhaftung mit der Komplementärfläche seitlich den Austritt von Flüssigkeit ermöglichen (und so Ablagerungen vermindern). Dem Merkmal der Trennung des Streifens von der komplementären Fläche ("separate") kommt damit für die mit der patentierten Erfindung angestrebte Lösung wesentliche Bedeutung zu. Wie die Beschwerdeführerin zutreffend ausführt, besteht dessen funktionale Bedeutung darin, dass Streifen und komplementäre Fläche so ausgebildet sind, dass entlang der seitlichen Ränder Flüssigkeit austreten kann mit dem Effekt, dass Ablagerungen durch Selbstspülung reduziert werden. Die Beschwerdeführerin legt zutreffend dar, dass der erfindungsgemässe Effekt vom getrennten Bereich (Streifen einerseits, komplementäre Fläche anderseits) gesichert wird, was dem Fachmann klar ist. Die Beschwerdeführerin stimmt insofern der Auslegung der Vorinstanz zu, fügt jedoch bei, dass dies unabhängig davon gelte, ob unterhalb dieses Bereichs noch weitere Elemente vorhanden seien. Sie beanstandet, dass die Vorinstanz zu Unrecht auf die Ausführungsbeispiele abgestellt habe, indem sie den Patentanspruch "einschränkend" so verstanden habe, dass der Streifen auf der ganzen Länge der vertikal verlaufenden Kanten getrennt ist von der komplementären Komponente.  
 
4.2.3. Dem Anspruchswortlaut "a component that is separate from the strip (6) providing a complementary surface against which the lower end of the flexible strip (6) may seal" ist nicht zu entnehmen, dass  der Streifen über die gesamte Länge der vertikal verlaufenden Kanten getrennt ist von der Komponente. Die Länge des Streifens wird nicht definiert und auch über die Ausgestaltung des unteren Endes ist dem Wortlaut nur zu entnehmen, dass es so ausgestaltet sein muss, dass es gegen die Komponente abdichten kann ("may seal"). Die separate Ausgestaltung bzw. die Trennung von Streifen und Komplementärfläche "über deren gesamte Länge" ergibt sich jedoch aus der detaillierten Beschreibung und den Ausführungsbeispielen, wo namentlich in Figur 2 die beiden Streifen (6) vollständig, über deren gesamte Länge an den vertikal verlaufenden Kanten voneinander getrennt sind. Wird der Anspruch daher im Lichte von Beschreibung und Zeichnungen ausgelegt, so ergibt sich, dass der Streifen im Wesentlichen über eine hinreichende Länge getrennt sein muss von der komplementären Anlagefläche, was auch die Beschwerdeführerin anerkennt. Da die Abdichtung am unteren Ende nach den Ausführungsbeispielen durch Anlage des Streifens an die komplementäre Fläche erfolgt und deren untere Enden als freie Enden ausgebildet sind, ist der Anspruch im Lichte der Ausführungsbeispiele so zu verstehen, dass der Streifen vor Gebrauch auf der gesamten Länge unterhalb des Troges von der (ebenfalls als Streifen ausgebildeten) komplementären Komponente getrennt ist, während nach Abdichtung umgekehrt die Streifen über ihre ganze Länge aneinander liegen. Dass die Patentschrift Anhaltspunkte für eine andere Anleitung enthalten würde, behauptet die Beschwerdeführerin nicht.  
 
4.2.4. Die Vorinstanz hat entgegen der Ansicht der Beschwerdeführerin die Auslegungsgrundsätze nicht verkannt mit dem Schluss, dass der Fachmann im Lichte von Beschreibung und Zeichnungen das beanspruchte Merkmal "separate" im Rahmen des Anspruchsmerkmals 1.3 ("a component that is separate from the strip (6) providing a complementary surface against which the lower end of the flexible strip (6) may seal") als Trennung des Streifens von dessen komplementärer Fläche auf der ganzen Länge - bis zu dessen freiem Ende - interpretiert. Denn die im Wortlaut des Anspruchs nicht näher umschriebene Abdichtung am unteren Ende erfolgt in den Ausführungsbeispielen unbestritten durch Anlage des Streifens an die komplementäre Fläche, was durch eine starre Fixierung mit der Folge eines entsprechenden Abstandes verhindert würde. Auch wenn daher dem Wortlaut des Anspruchs für sich allein betrachtet nicht zu entnehmen ist, dass der Streifen auf der ganzen Länge von der Komplementärfläche getrennt sein muss, so ergibt sich dieses Verständnis unter Beizug der Beschreibung und der Zeichnungen so, dass die patentierte Anleitung vom Fachmann in dieser Weise verstanden wird. Das Merkmal der "separaten" Ausbildung von Streifen und komplementärer Fläche (nach den Ausführungsbeispielen komplementärer Streifen) wird im Lichte der Zeichnungen und der Abgrenzung vom Stand der Technik (flachgedrückter Schlauch) so verstanden, dass Streifen und komplementäre Fläche auf ihrer gesamten Länge unterhalb der Befestigung am Trog nicht verbunden sind, so dass sie nach Durchfluss von Flüssigkeit durch Adhäsionskräfte aneinander zu liegen kommen. Die Ausführungsbeispiele weisen auf dieses Verständnis eindeutig hin, ohne dass Anhaltspunkte für ein weiteres Verständnis von "separate" in dem Sinne bestehen würden, dass das Ausführungsbeispiel mit den losen Enden nur als eine - wie die Beschwerdeführerin behauptet, bevorzugte - Ausführung erschiene.  
 
5.  
 
5.1. Eine Patentverletzung begeht, wer die patentierte Erfindung widerrechtlich benützt, wobei als Benützung auch die Nach  ahmung gilt (Art. 66 lit. a PatG). Eine widerrechtliche Benützung im Sinne einer Nachmachung liegt vor, wenn die patentierte technische Anleitung direkt ausgeführt wird, wenn der Verletzungsgegenstand alle entscheidenden Merkmale des Patentanspruchs verwirklicht, wie sie dem Fachmann im Patent offenbart werden (vgl. BGE 131 III 70 E. 3.4 S. 74; 97 II 85 E. 1 S. 87).  
 
5.2. Nach den Feststellungen im angefochtenen Urteil ist unbestritten, dass die hier zur Diskussion stehenden Ventile 2. Generation abgesehen von den Merkmalen 1.3 und 1.3.1 ("and further comprising a component that is separate from the strip (6) providing a complementary surface against which the lower end of the flexible strip (6) may seal") alle entscheidenden Merkmale des Streitpatents verwirklichen. Die Vorinstanz hat gestützt auf ihr Verständnis der Patentansprüche verneint, dass das Ventil 2. Generation auch das Merkmal 1.3 verwirkliche; sie hat eine Nachmachung verneint. Die Beschwerdeführerin hält dagegen, dass die angegriffenen Ventile 2. Generation alle entscheidenden Merkmale ihres Patentes verwirklichen. Sie hält daran fest, dass die Vorinstanz ihr Patent und namentlich den Begriff "separate" falsch auslege und sie fügt an, die Vorinstanz schliesse ohne nähere Begründung, dass an die Streifen unten keinerlei Elemente angeschlossen werden dürften, welche eine Verbindung herstellten; sie sieht darin einen Gegensatz zur Erwägung, wonach der Fachmann aufgrund des Anspruchswortlauts verstehe, dass es für die wesentliche Funktion der Erfindung keine Rolle spiele, wie die beiden Streifen (Streife und komplementäre Fläche) im untersten Bereich ausgebildet seien, solange die patentgemässe Ausgestaltung im Dichtungsbereich über eine gewisse Länge mit einer vom Streifen getrennten Komponente die Funktionen der Trennung und des Anliegens nicht beeinflusse; da der Fachmann aufgrund des Anspruchswortlauts erkenne, dass die patentgemässe Ausgestaltung nur über einen gewissen Bereich in Form eines Streifens und einer komplementären Komponente vorliegen müsse, ist sie der Ansicht, die Erfindung sei wortsinngemäss verwirklicht.  
 
5.3. Die Anleitung im Streitpatent, wie sie der Fachmann im Lichte von Beschreibung und Zeichnungen versteht, vermittelt im hier zur Diskussion stehenden Bereich die erwünschte technische Wirkung in der Weise, dass die flexiblen und leichten Streifen von der komplementären Fläche auf ihrer ganzen Länge getrennt sind, so dass die freien Enden am unteren Ende durch Adhäsion des Streifens an die komplementäre Fläche nach Durchfluss aneinander zu liegen kommen und so abdichten können. Diese Anleitung zur Abdichtung mit der Adhäsionswirkung der nassen Streifen wird grundsätzlich nicht so verwirklicht, wenn statt der freien Enden der Streifen eine Verbindung von Streifen und Komplementärfläche besteht. Die Beschwerdeführerin verweist denn auch auf ihre von der Vorinstanz abweichende Interpretation des Patents und zitiert aus den Erwägungen, welche die Vorinstanz im Zusammenhang mit der äquivalenten Ausführung angestellt hat. Sie verkennt, dass ihre Patentschrift keine direkte Anleitung dafür enthält, das untere Ende der Streifen mit irgendwelchen Befestigungen auszugestalten, so dass die Streifen mit ihrer komplementären Fläche am unteren Ende verbunden - d.h. unterhalb ihrer Befestigung am Trog nur über eine hinreichende Länge statt vollständig getrennt wären - und die Abdichtung nach Durchfluss der Flüssigkeit auf andere Weise als durch blosses Aneinanderhaften der Streifen ermöglicht oder weitere Elemente angefügt würden, welche dieses Anhaften nicht verhindern. Die Vorinstanz hat im Ergebnis bundesrechtskonform geschlossen, dass mit den Ventilen der 2. Generation die Anleitung des Streitpatents  nicht direkt ausgeführt wird und somit  keine Nachmachung vorliegt.  
 
6.  
 
6.1. Die Vorinstanz hat auch eine  Nachahmung verneint. Sie hat auf ihre mit Urteil vom 21. März 2013 (Verfahren S2013-001) begründete Praxis verwiesen, wonach eine äquivalente Benutzung kumulativ Gleichwirkung, Auffindbarkeit und Gleichwertigkeit voraussetzt. Gleichwirkung liegt danach vor, wenn die ersetzten Merkmale die objektiv gleiche Funktion erfüllen; Auffindbarkeit ist gegeben, wenn die ersetzten Merkmale dem Fachmann nahegelegt werden, und Gleichwertigkeit bedeutet, dass der Fachmann bei Orientierung am Anspruchswortlaut im Lichte der Beschreibung die ersetzten Merkmale als gleichwertige Lösung in Betracht gezogen hätte. Die Vorinstanz hat für das Ventil der 2. Generation zwar die Gleichwirkung bejaht, die Auffindbarkeit jedoch für zweifelhaft gehalten und die Gleichwertigkeit verneint. Die Beschwerdeführerin hält daran fest, dass ihre patentierte Lehre mit dem Ventil 2. Generation wortsinngemäss verwirklicht werde, woran nichts hindere, dass im unteren Bereich mit der Stegverbindung noch ein weiteres Element angefügt werde. Sie hält aber auch Auffindbarkeit und Gleichwertigkeit als erfüllt für den Fall, dass das Anspruchsmerkmal "über die gesamte Länge getrennt" ersetzt werde durch "oben getrennt und im untersten Bereich über zwei flexible vorgespannte Stegverbindungen verbunden, wobei die Verbindung der vertikal verlaufenden Kanten in einem verglichen mit der gesamten Kantenlänge untergeordneten Bereich besteht und die vorgespannten Stegverbindungen das aneinander Anliegen und die Flexibilität des Streifens im für die Funktion der Erfindung relevanten Bereich nicht einschränkt". Die Beschwerdegegnerin beanstandet zwar die verkürzte Alternative "separate" ersetzt durch "Stege zwischen den Streifen an deren unteren Ende", bestreitet jedoch nicht, dass die Stege am unteren Ende angebracht sind.  
 
6.2. Eine Nachahmung im Sinne von Art. 66 lit. a zweiter Halbsatz PatG begeht, wer den patentgemässen Erfolg im Wissen um die patentierte Lehre in abweichender oder abgewandelter Form verwirklicht (BGE 125 III 29 E. 3b S. 32; 115 II 490 E. 2a S. 491; 98 II 325 E. 3c S. 331; vgl. auch Urteil 4C.124/2001 vom 17. August 2001 E. 2, publ. in sic! 2001, 749; vgl. dazu BLUMER, a.a.O., S. 671, Rz. 14.51 f.; EUGÈNE BRUNNER, Der Schutzbereich europäisch erteilter Patente aus schweizerischer Sicht - eine Spätlese, sic! 1998, S. 357; RETO M. HILTY, Die Bestimmung des Schutzbereichs schweizerischer und europäischer Patente, AJP 2003, S. 396 ff., S. 402 f.).  
 
6.2.1. Zur Beurteilung, ob die patentierte technische Lehre mit abgewandelten Mitteln verwirklicht wird oder im Gegenteil ein angeblicher Verletzungsgegenstand nicht mehr in den Schutzbereich des Patents fällt, sind in verschiedenen Vertragsstaaten des EPÜ detailliertere Kriterien entwickelt worden (vgl. UWE SCHAREN, in: Ehlers/Kinkeldey [Hrsg.], Benkard, Europäisches Patentübereinkommen, 2. Aufl., München 2012, N. 66 ff. zu Art. 69 EPÜ). Dabei wird regelmässig davon ausgegangen, dass das abgewandelte Merkmal objektiv die gleiche Funktion für die Verwirklichung der technischen Lehre erzielen muss wie das im Patent beanspruchte (sog.  Gleichwirkung; vgl. SCHAREN, a.a.O., N. 66 zu Art. 69 EPÜ, S. 795 [D], N. 68 zu Art. 69 EPÜ, S. 797 [A], N. 69 zu Art. 69 EPÜ, S. 798 [F], N. 70 zu Art. 69 EPÜ, S. 798 f. [NL], sowie N. 76 zu Art. 69 EPÜ, S. 825 [I] und 826 [S], vgl. auch THOMAS ADAM, in: Ehlers/Kinkeldey [Hrsg.], Benkard, Europäisches Patentübereinkommen, 2. Aufl., München 2012, N. 72a, b, S. 802 für GB). Insbesondere um eine unzulässige ex post -Betrachtung zu vermeiden (wenn die abgewandelte Form bekannt ist, mag sie zu leicht als vom Patent vorgegeben erscheinen), werden allerdings zusätzlich zur Gleichwirkung weitere Anforderungen gestellt. So wird nach der Rechtsprechung nicht nur des Bundesgerichts, sondern auch des deutschen BGH sowie nach den Präjudizien in Grossbritannien zusätzlich verlangt, dass das abgewandelte Merkmal dem Fachmann durch die patentierte Lehre nahegelegt sein muss (sog.  Auffindbarkeit; vgl. BGE 125 III 29 E. 3b S. 32 mit Verweis; MEIER-BECK, GRUR 2003, S. 905 mit Verweis auf die "Schneidmesser-Urteile" vom 12. März 2002 in: GRUR 2002, S. 515 und 519, Urteil des Patents Court vom 16. Mai 1989 i.D. Improver Corporation et al. v. Remington Consumer Products Ldt. et al. in: GRUR Int. 1993, S. 245). Wie die Vorinstanz in ihrem Leiturteil vom 21. März 2013 E. 17.2 ausserdem dargelegt hat, wird in der deutschen und englischen Praxis überdies als drittes Kriterium die  Gleichwertigkeit verlangt in dem Sinne, dass der Fachmann die abgewandelte Ausführung als gleichwertige Lösung in Betracht zieht (vgl. die erw. englische Entscheidung in GRUR Int. 1993, E. 3 S. 247, die erw. deutsche Entscheidung in GRUR 2002, E. 3a S. 517, E. 3d S. 518).  
 
6.2.2. Die Vorinstanz hat in ihrem Leitentscheid vom 21. März 2013 (S2013_001) die Einführung des dritten Kriteriums der Gleichwertigkeit wie folgt begründet (E. 17.2) :  
 
"Bei der Festlegung des über den Wortlaut hinausgehenden Schutzbereichs von Patenten (Äquivalenzbereich, Bereich der Nachahmung) muss bei aller Würdigung des Beitrags der Erfindung auch der Rechtssicherheit Dritter Rechnung getragen werden. Dritte müssen ohne unzumutbaren Aufwand beim Studium des Patents erkennen können, was erlaubt ist und was nicht, was gerade im Äquivalenzbereich schwierig sein kann. Die erste Frage der Gleichwirkung und die zweite Frage der Auffindbarkeit oder des Naheliegens für den Fachmann tragen diesem Interesse Rechnung, orientieren sich aber im Lichte des Anspruchsprimats (vgl. Art. 51 PatG) zu wenig am effektiven Anspruchswortlaut. Die schweizerische Rechtsprechung kennt bisher die sich am effektiven Wortlaut der Ansprüche orientierende dritte Frage der Gleichwertigkeit bei der Beurteilung der Äquivalenz nicht. Im Hinblick auf das Vertragsziel der Rechtseinheit im Zusammenhang mit der Auslegung des Schutzbereichs europäischer Patente, und um solche geht es vorliegend, sind aber einschlägige Entscheide ausländischer Gerichte bei der Auslegung zu berücksichtigen, wobei höchstrichterliche Urteile besonderes Gewicht haben (vgl. BGE 121 III 336 E. 5c S. 338; BGE 117 II 480 E. 2b S. 486f; BGE 137 III 170 E. 2.2). In diesem Sinn ist die oben diskutierte Frage der Gleichwertigkeit auch von der schweizerischen Rechtsprechung zu berücksichtigen, und zwar sowohl bei Europäischen als auch bei Schweizerischen Patenten, denn diese dritte Frage gewährleistet, dass der Äquivalenzbereich in für Dritte möglichst nachvollziehbarer Weise auf Abweichungen beschränkt wird, die aus dem Wortlaut des Anspruchs heraus vom Fachmann als der Abweichung zugänglich und gleichwertig erkannt werden." 
 
 
6.2.3. Grundsätzlich kann dieser Auffassung der Vorinstanz gefolgt werden, zumal allgemein nicht zu verkennen ist, dass auch die Kriterien für Äquivalente letztlich dazu dienen, den Schutzbereich des Patents zu definieren (vgl. in diesem Sinne HILTY, a.a.O.). Es geht auch bei der Frage, ob die technische Anleitung mit abgewandelten Mitteln verwirklicht wird, um die Auslegung der Patentansprüche, wie sie der Fachmann im Lichte von Beschreibung und Zeichnung versteht. Wenn mit dem Kriterium der Gleichwertigkeit gefragt wird, ob aus fachmännischer Sicht der Patentinhaber, der die Ansprüche formuliert, auch für die abgewandelte Form Schutz beansprucht, so wird damit dem Primat des Patentanspruchs Rechnung getragen, ohne dass jedoch diese Einschränkung so weit reichen darf, dass der Wortlaut der Ansprüche aus Sicht des allgemeinen Publikums zu verstehen wäre; was aus fachmännischer Sicht durch die Worte vermittelt wird, ist allemal gleichwertig.  
 
6.3. Im vorliegenden Fall ist davon auszugehen, dass die Beschwerdegegnerin mit den Ventilen 2. Generation das Merkmal "a component that is separate from the strip (6) providing a complementary surface against which the lower end of the flexible strip (6) may seal" nicht in der Weise verwirklicht, dass der am Trog befestigte Streifen und dessen komplementäre Fläche bis zu deren losen Enden vollständig getrennt sind, sondern in der Weise, dass sie auf einer Länge getrennt sind, die ausreicht, um die Adhäsionskräfte zur Geltung zu bringen, welche Streifen und Komplementärfläche nach dem Durchfluss von Flüssigkeit zum Aneinanderliegen bringen. Dass die Wirkung der Abdichtung ("may seal") direkt in der im Patent beschriebenen Weise verwirklicht wird, hat die Vorinstanz festgestellt und ist nicht bestritten. Die Vorinstanz hat denn auch erkannt, dass die Ventile 2. Generation, bei denen die ausreichend lang getrennten Streifen am unteren Ende mit Stegen verbunden sind, die mit dem Patent beanspruchte Lösung verwirklichen. Sie hat die Gleichwirkung bejaht, was unbestritten ist. Sie hat jedoch die Auffindbarkeit für den Fachmann offengelassen und die Gleichwertigkeit verneint, was die Beschwerdeführerin rügt.  
 
6.3.1. Dass das Ventil 2. Generation zweckentsprechend nur funktioniert, wenn die Streifen oberhalb der Verbindungsstege (im Zustand vor Gebrauch) auf einer hinreichenden Länge getrennt sind, wird im angefochtenen Urteil wiederholt festgestellt. Die Vorinstanz beruft sich denn auch in ihrer Vernehmlassung darauf, dass der "beträchtliche" Abstand auf den Bildern, der durch die Stege geschaffen werde, keinerlei Beweiszwecken diene (oben E. 3.3). Damit steht in gewissem Widerspruch, wenn die Auffindbarkeit für den Fachmann nicht mit der Länge oder der verhältnismässigen Dimensionierung der Streifen, sondern mit dem Abstand in Verbindung gebracht wird, den die Stege halten. Im Fachrichtervotum - das von Amtes wegen beigezogen werden kann (Art. 105 Abs. 2 BGG) - wird dargelegt, der Fachmann finde ohne weiteres, dass am unteren Ende der Streifen Stege vorgesehen werden können, solange die Streifen oberhalb über eine genügende axiale Länge getrennt bzw. in Anlage unter seitlich getrennten Kanten vorliegen. Die Beschwerdegegnerin verkennt, dass der Dichtungseffekt durch Anhaftung der zunächst getrennten Streifen bei ihren Ventilen unbestritten durch direkte Benutzung der patentierten Anleitung und nicht durch die Stege als ausgetauschtes Mittel erreicht wird, wenn sie auf die Ausgestaltung der Verbindungsstege Gewicht legt. Da die Funktionen der getrennten Streifen - namentlich die Dichtwirkung - trotz einer unteren Verbindung wortsinngemäss verwirklicht werden, stellt sich die Frage, ob der Fachmann, der statt der losen Enden der Streifen (d.h. der Streifen und deren komplementären Fläche) am unteren Ende der Streifen eine Befestigung anbringen will, ohne weiteres erkennt, dass die Streifen auf einer hinreichenden Länge getrennt werden müssen, um die mit dem Patent angestrebte Wirkung zu erreichen. Dass dies für den Fachmann offensichtlich ist, wird im Fachrichtervotum überzeugend dargelegt. Es ist nicht nachvollziehbar, inwiefern der Fachrichter die Frage nach der Auffindbarkeit nicht gänzlich richtig gestellt haben sollte, wie die Beschwerdegegnerin behauptet. Der Unterschied zwischen der wortsinngemässen Ausführung des Patents und dem Verletzungsgegenstand besteht nicht darin, dass gewisse Funktionen - namentlich die Funktion der Dichtung "may seal" - von den Verbindungsstegen wahrgenommen würden. Die Befestigung am unteren Ende der Streifen mag aus unterschiedlichen Gründen erwünscht sein; für die im Patent beanspruchte Lösung hat sie keine Bedeutung. Dass aber Befestigungen wie Verbindungsstege die patentgemässen Funktionen aus fachmännischer Betrachtung offensichtlich nicht beeinträchtigen, wenn sie unterhalb von hinreichend lang separat ausgebildeten Streifen angebracht werden, hat der Fachrichter in seinem Votum überzeugend dargelegt. Die Auffindbarkeit ist zu bejahen.  
 
6.3.2. Die Vorinstanz hat verneint, dass der Fachmann bei Orientierung am Anspruchswortlaut die ersetzten Merkmale als gleichwertige Lösung in Betracht gezogen hätte. Sie hat dabei dem Ausdruck "separate" im Anspruchswortlaut die Bedeutung "auf der ganzen Länge" getrennt beigemessen und die zu prüfende Frage so gestellt, ob der Fachmann angesichts des ausdrücklichen Anspruchswortlauts der separaten Ausbildung von Streifen und Komponente erkennen konnte, dass auch die nicht vollständig separate Ausbildung von Streifen und Komponente vom Schutzumfang erfasst sein sollte. Sie hat sich dabei allerdings nicht am Anspruchswortlaut, sondern wesentlich an Beschreibung und Zeichnungen orientiert, in denen durchwegs nur die Situation offenbart wird, dass Streifen und Komponente vollständig separat ausgebildet sind. Der Anspruchswortlaut aber schreibt nicht vor, dass Streifen und Komponente "auf der ganzen Länge" getrennt sein müssten; vielmehr gibt er vor, dass die Trennung von Streifen und Komponente so erfolgt, dass sie komplementäre Flächen bilden ("separate from the strip (6) providing a complementary surface"), an welche das untere Ende des flexiblen Streifens dichten kann ("against which the lower end of the flexible strip (6) may seal"). Der Anspruchswortlaut verlangt damit nur, dass die Trennung des flexiblen Streifens von der Komponente bis zum unteren Ende geführt wird, an dem die Dichtung erfolgt. Eine vollständige Trennung von Streifen und Komponente  mit losen Enden wird vom Anspruchswortlaut für sich genommen  gerade nicht verlangt. Ausgehend vom Anspruchswortlaut ist aus fachmännischer Sicht aber naheliegend, dass die Trennung von Streifen und Komponente nur auf einer hinreichenden Länge bis zum unteren Ende geführt werden muss, an dem die Dichtung erfolgt. Danach lässt sich das lose Ende der Streifen gleichwertig durch eine Befestigung ersetzen. Die Beschwerdeführerin beanstandet zu Recht, dass sich die Vorinstanz bei der Beurteilung der Gleichwertigkeit vorliegend nicht am Anspruchswortlaut, sondern ausschliesslich an Beschreibung und Zeichnung orientiert, welche zwar die direkte technische Anleitung zur Ausführung der Erfindung vermitteln, aber damit den Schutzbereich für abgewandelte Ausführungen nicht zu definieren vermögen.  
 
6.4. Die Ventile der 2. Generation der Beschwerdegegnerin verletzen das Patent EP xxx der Beschwerdeführerin. Dass die Beschwerdegegnerin für ihre mit Verbindungsstegen versehenen Ventile ihrerseits Patentschutz (EP xxx) erhalten hat, ändert nichts daran, dass sie die mit dem Patent der Beschwerdeführerin beanspruchte Erfindung (die sie übrigens als nächstliegenden Stand der Technik ausweist) mit der vorliegend umstrittenen Ausführung benützt. Vom Schutzbereich der älteren Lehre direkt umfasst sind spätere Erfindungen, wenn sie die ältere Lehre vollständig anwenden, aber eine verbesserte, nicht naheliegende Ausführung lehren, und ebenso Erfindungen, bei deren Anwendung der Kern der früher patentierten Erfindung teilweise mitverwendet wird (ALOIS TROLLER, Immaterialgüterrecht, Bd. II, 3. Aufl. 1985, S. 891). Dafür sieht Art. 36 Abs. 1 PatG eine nicht ausschliessliche Lizenz vor (vgl. Urteil 4C.502/1997 vom 20. April 1998 E. 5b).  
 
7.  
Das Teilurteil der Vorinstanz ist insoweit aufzuheben, als die Rechtsbegehren der Beschwerdeführerin in Bezug auf die Ventile 2. Generation abgewiesen wurden. Die Rechtsbegehren der Beschwerdeführerin gehen nicht über die Begehren hinaus, welche sie diesbezüglich vor Vorinstanz gestellt hat, denn mit dem Beginn des Auskunftsbegehrens in Ziffer 3 am 9. März 2010 ist eine Einschränkung verbunden. Dagegen ist auf das Begehren in Bezug auf die weiteren Erzeugnisse nicht einzutreten. 
Zur Neuverlegung der Kosten des vorinstanzlichen Verfahrens ist die Sache an die Vorinstanz zurückzuweisen. Konkret ist reformatorisch so zu entscheiden, dass Dispositiv-Ziffer 2 (Abweisung von Rechtsbegehren Ziffer 2 betr. die Ventile 2. Generation) des angefochtenen Urteils aufzuheben und das Rechtsbegehren Ziffer 2 der Beschwerdeführerin gutzuheissen ist; dabei versteht sich von selbst, dass das Verbot nur dann bis zum Ablauf des Schweizer Teils des europäischen Patents EP xxx gilt, wenn nicht vorher auf Gesuch der Beschwerdegegnerin gestützt auf Art. 36 PatG eine Lizenz erteilt wird. Die Ziffern 3-5 des vorinstanzlichen Urteils sind in dem Sinne zu ergänzen, dass sich die entsprechenden Anordnungen auch auf die Erzeugnisse gemäss Dispositiv-Ziffer 2 beziehen. 
Bei diesem Ausgang des Verfahrens wird die Beschwerdegegnerin kosten- und entschädigungspflichtig (Art. 66 Abs. 1 BGG und Art. 68 Abs. 2 BGG). 
 
 
 Demnach erkennt das Bundesgericht:  
 
1.  
Die Beschwerde wird gutgeheissen, soweit darauf einzutreten ist, die Dispositiv-Ziffern 2 bis 5 des angefochtenen Teilurteils werden aufgehoben und wie folgt neu gefasst: 
 
"2. In Gutheissung von Rechtsbegehren Ziffer 2 wird der Beschwerdegegnerin bis zum Ablauf des Schweizer Teils des Patents EP xxx unter Androhung einer Ordnungsbusse von CHF 500.00 pro Tag nach Art. 343 Abs. 1 lit. c ZPO, mindestens aber CHF 5'000.00 gemäss Art. 343 Abs. 1 lit. b ZPO, sowie der Bestrafung ihrer Organe nach Art. 292 StGB mit Busse im Widerhandlungsfall verboten, Ventile für Urinale, welche Ventile den gravitationsbedingten Abfluss von Urin zulassen und in der Gegenrichtung das Ausströmen von Gerüchen einschränken, welche nach Art der untenstehenden Figur ausgebildet sind, also mit 
 
a)       einem Einlassabschnitt, der 
 
       1.       selbsttragend ausgestaltet ist; 
 
       2.       sich trogförmig gegen sein unteres Ende verengt; 
 
b)       einem Auslassabschnitt mit 
 
       1.       einem flachen, flexiblen, nachgiebigen Streifen, der 
 
              i. einen hohen inhärenten Grad von Flexibilität aufweist; 
 
              ii. am oberen Ende mit dem Einlassabschnitt verbunden ist; 
 
       2.       und einer vom Streifen, abgesehen von zwei flexiblen Stegverbindungen, getrennten Komponente, so angeordnet, dass 
 
              i. sie eine dem Streifen zugewandte komplementäre Fläche bildet, 
 
              ii. der sich verengende Innenraum des Einlassabschnitts zwischen der komplementären Fläche und dem Streifen mündet; 
 
              iii. Flüssigkeit zwischen der komplementären Fläche und dem Streifen durchfliessen kann; 
 
              iv. der Streifen bei seinem unteren Endbereich nach gravitationsbedingten Abfluss von Flüssigkeit an der komplementären Fläche soweit anliegt, dass die Verbindung von unterhalb des Ventils zum Innenraum des Einlassabschnitts abgedichtet ist; 
 
in der Schweiz und in Liechtenstein herzustellen, herstellen zu lassen, anzubieten, in den Verkehr zu bringen, zu verkaufen oder zu einem der genannten Zwecke einzuführen oder auszuführen.  
 
           
 
3. Die Beklagte wird unter Androhung einer Ordnungsbusse von CHF 500.- für jeden Tag der Nichterfüllung, mindestens aber CHF 5'000.-, sowie der Bestrafung ihrer Organe nach Art. 292 StGB mit Busse im Widerhandlungsfall verpflichtet, innert 60 Tagen nach Eintritt der Rechtskraft dieses Teilurteils nach anerkannten Grundsätzen der Rechnungslegung Auskunft zu erteilen über die Menge der seit 9. März 2010 von ihr oder in ihrem Auftrag in der Schweiz und in Liechtenstein hergestellten, in den Verkehr gebrachten, verkauften und zu den genannten Zwecken eingeführten oder ausgeführten Erzeugnisse gemäss Dispositiv-Ziffer 1 und Dispositivziffer 2 sowie die dadurch erzielten Umsätze und Gewinne, unter Angabe:  
 
a)       der Menge der hergestellten, erhaltenen oder bestellten Erzeugnisse sowie die Namen und Anschriften der Hersteller und/oder Lieferanten; 
 
b)       der Menge und der Preise der verkauften und ausgelieferten Erzeugnisse und des erzielten Gewinns; 
 
c)       des Verbreitungszeitraums; 
 
d)       der Kosten für den Erwerb der erhaltenen oder bestellten Erzeugnisse und allfälliger weiterer Gestehungskosten im Zusammenhang mit dem Vertrieb und Verkauf der Erzeugnisse. 
 
Im Mehrumfang wird das Rechtsbegehren Ziff. 3 abgewiesen. 
 
4. In Gutheissung von Rechtsbegehren Ziff. 6 wird die Beklagte unter Androhung einer Ordnungsbusse von CHF 500.- für jeden Tag der Nichterfüllung, mindestens aber CHF 5'000.-, sowie der Bestrafung ihrer Organe nach Art. 292 StGB mit Busse im Widerhandlungsfall verpflichtet, innert 30 Tagen nach Eintritt der Rechtskraft dieses Teilurteils Auskunft zu erteilen über 
 
- Menge und Lagerungsort aller sich in ihrem Besitz oder Eigentum befindlichen Erzeugnisse gemäss Dispositiv-Ziffer 1 und Dispositiv-Ziffer 2  
- sämtliche sich in ihrem Besitz oder Eigentum befindlichen Werkzeugformen, welche ausschliesslich für die Herstellung der Erzeugnisse gemäss Dispositiv-Ziffer 1 und Dispositiv-Ziffer 2 verwendet werden können.  
 
5. In Gutheissung von Rechtsbegehren Ziff. 6 wird die Beklagte unter Androhung einer Ordnungsbusse von CHF 500.- für jeden Tag der Nichterfüllung, mindestens aber CHF 5'000.-, sowie der Bestrafung ihrer Organe nach Art. 292 StGB mit Busse im Widerhandlungsfall verpflichtet, innert 60 Tagen nach Eintritt der Rechtskraft dieses Teilurteils hergestellte Erzeugnisse gemäss Dispositiv-Ziffer 1 und Dispositiv-Ziffer 2 sowie die dafür spezifisch benötigten Werkzeugformen und zur Herstellung dienenden Einrichtungen, Geräte und sonstigen Mittel, soweit diese ausschliesslich für die Herstellung der Erzeugnisse gemäss Dispositiv-Ziffer 1 und Dispositiv-Ziffer 2 geeignet sind, zu vernichten, soweit sich diese im Eigentum oder Besitz der Beklagten befinden."  
 
2.  
Dispositiv-Ziffern 6-8 des angefochtenen Urteils werden aufgehoben und die Sache wird zur Neuregelung der Kosten an die Vorinstanz zurückgewiesen. 
 
3.  
Die Gerichtskosten für das bundesgerichtliche Verfahren von Fr. 4'000.-- werden der Beschwerdegegnerin auferlegt. 
 
4.  
Die Beschwerdegegnerin wird verpflichtet, der Beschwerdeführerin deren Parteikosten für das bundesgerichtliche Verfahren mit Fr. 5'000.-- zu ersetzen. 
 
5.  
Dieses Urteil wird den Parteien und dem Bundespatentgericht schriftlich mitgeteilt. 
 
 
Lausanne, 3. Oktober 2016 
Im Namen der I. zivilrechtlichen Abteilung 
des Schweizerischen Bundesgerichts 
 
Die Präsidentin: Kiss 
 
Der Gerichtsschreiber: Hurni